TWEKO has completed a full scope of works — from design and manufacturing to supply and installation — of a technological complex for abrasive blasting, painting, and drying of metal structures at a road and infrastructure production facility.
About the Client
LLC “VK “Autostrada” (Autostrada) is one of the largest Ukrainian contractors in road and infrastructure construction. The company specializes in construction, reconstruction, and major repairs of highways, bridges, overpasses, and complex engineering structures, working with large-scale metal components produced both in-house and by subcontractors.
The enterprise’s production facilities include dedicated areas for fabrication, surface preparation, and anticorrosion protection of oversized metal elements used in road and bridge construction. The extreme operating conditions — harsh climate and heavy mechanical loads — impose stringent requirements on surface preparation quality and the durability of paint coatings.
As part of expanding its own production capabilities, Autostrada initiated the development of a dedicated abrasive blasting and painting section capable of delivering a complete technological cycle for large-scale products while meeting all industrial safety, occupational health, and consistent coating quality standards.
Solution
To support abrasive blasting, paint coating application, and drying of large-scale products, TWEKO supplied and installed a complete equipment complex comprising an abrasive blasting chamber of the KASO series, model KASO-20, and a paint and drying booth of the IKFS series, model IKFS-20 KFS.000.00.00-ENERGY “D”.
Technical parameters, main component composition, and configuration of ventilation, heating, lighting, and power supply systems are provided below in accordance with the equipment technical documentation.
-
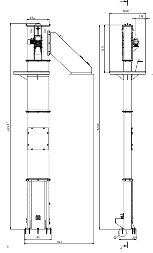
- Abrasive blasting chamber of the KASO series manufactured by TWEKO — model KASO-20 with internal cabin dimensions 20,000 × 6,500 × 7,000 mm.
The chamber is designed in a pass-through configuration with entry and exit gates at both ends, allowing unidirectional product movement through the chamber as part of the technological process.The chamber supports simultaneous operation of two abrasive blasting workstations and is equipped with a ventilation system based on FVU 30,000 filtration-ventilation units, as well as industrial-grade lighting.For safe work at height, two worker mobile elevating platforms are installed — one on each side of the working zone — providing convenient and secure access to all surfaces of oversized products.The chamber includes a complete abrasive transport and recovery system comprising a bucket elevator, abrasive separator, accumulation hopper, and mechanized scraper floor for collecting spent material from the working zone.
The cabin is constructed as a metal frame clad with sandwich panels. The design includes personnel service doors, and equipment operation is controlled from a centralized control panel.
- Abrasive blasting chamber of the KASO series manufactured by TWEKO — model KASO-20 with internal cabin dimensions 20,000 × 6,500 × 7,000 mm.
- Paint and Drying Booth
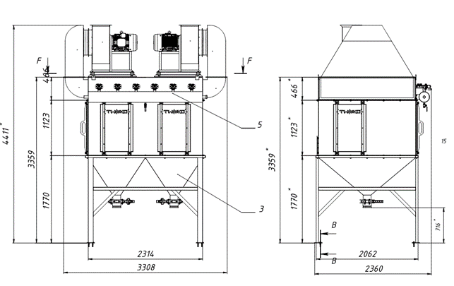
Paint and drying booth of the IKFS series manufactured by TWEKO — model IKFS-20 with internal cabin dimensions 19,000 × 6,500 × 7,000 mm and external dimensions 19,163 × 11,360 × 7,640 mm.
The booth is designed in a pass-through configuration with sectional entry and exit gates at both ends, enabling through-flow movement of products during painting and drying.The booth structure consists of a metal frame clad with sandwich panels. Internal components include industrial lighting and a ceiling framework with ceiling frames and filters.
Worker mobile elevating platforms are provided on both sides of the working zone, ensuring safe and convenient access to all surfaces of oversized products.The ventilation system is based on supply and exhaust units, each with a capacity of 26,000 m³/h; the configuration includes four supply and four exhaust units, providing the required air exchange in the working volume.
The working temperature inside the booth during drying can reach 80 °C. The lighting system is rated for up to 3 kW power consumption. The booth incorporates multiple filter types — pre-filters, ceiling filters, cardboard filters, and fiberglass filters — ensuring air purification at different stages of the process.
Technical Specifications of the Complex
| Parameter | KASO-20 Abrasive Blasting Chamber |
IKFS Paint & Drying Booth |
|---|---|---|
| Dimensional Parameters | ||
| Internal cabin dimensions | 20,000 × 6,500 × 7,000 mm | 19,000 × 6,500 × 7,000 mm |
| External dimensions | 24,700 × 10,160 × 7,640 mm | 19,163 × 11,360 × 7,640 mm |
| Technological Parameters | ||
| Number of workstations | 2 abrasive blasting workstations | — |
| Ventilation | ||
| Ventilation capacity | 30,000 m³/h | Supply: 26,000 m³/h × 4 Exhaust: 26,000 m³/h × 4 |
| Temperature Modes | ||
| Heating system | — | Heat generators installed outside the booth (8 units) |
| Maximum drying temperature | — | up to 80 °C |
| Lighting | ||
| Lighting power consumption | up to 5 kW | up to 3 kW |
| Acoustic Parameters | ||
| Noise level inside the chambers | up to 65 dB | up to 65 dB |
| Noise level outside the chambers | up to 70 dB | up to 70 dB |
| Power Supply | ||
| Main power supply | 380 V / 50 Hz | 380 V / 50 Hz |
| Lighting circuit voltage | 220 V | 220 V |
| Total installed power | up to 33 kW | up to 80 kW |
Design and Functional Features of the Complex
- Technological equipment layout.
The complex comprises an abrasive blasting chamber, paint and drying booth, ventilation units, and auxiliary equipment installed within a single production layout in accordance with the project design. - Working zone dimensions.
Internal dimensions of the KASO-20 and IKFS-20 chambers allow processing of metal structures with significant length, height, and cross-section within the limits specified in the technical documentation. - Abrasive collection and recovery system.
The abrasive blasting chamber is equipped with a mechanized system for collecting and transporting spent abrasive, including scraper floor, bucket elevator, separator, and accumulation hopper. - Ventilation and air exchange organization.
The complex incorporates filtration-ventilation units and supply-exhaust systems with performance parameters as specified in the equipment technical documentation. - Placement of heat-generating equipment.
Heat-generating and ventilation modules of the paint and drying booth are located outside the cabin in accordance with the adopted design solutions. - Access and maintenance provisions.
The chamber design includes service doors, gates, lighting, and other elements required for performing technological operations and routine maintenance. - Height access equipment.
Worker mobile elevating platforms are integrated for safe execution of abrasive blasting, preparation, and painting operations within the working zones. - Control systems.
Operation of the main chamber units and engineering systems is managed from dedicated control panels provided in the equipment design.
Result for the Customer
As a result of the project, the customer received a complete set of technological equipment enabling high-quality abrasive blasting, painting, and drying of large-scale metal structures within its own production infrastructure.
The supplied equipment forms an integrated technological complex that includes an abrasive blasting chamber, paint and drying booth, ventilation and auxiliary systems, and height access equipment. The composition, parameters, and configuration fully comply with the project and operational documentation.
Conclusion
The implemented project demonstrates TWEKO’s systematic approach to delivering comprehensive engineering solutions for industrial enterprises — from equipment design and manufacturing to installation and seamless integration into the customer’s production infrastructure.
The technical solutions adopted allowed the complex to be fully tailored to the actual conditions of the production site while meeting all requirements for industrial safety, occupational health, and future expansion potential. The coordinated operation of technological and engineering systems ensures process stability and predictable equipment performance.
If your company requires a customized solution for surface preparation, painting, and drying of large-scale products, the TWEKO team is ready to propose an optimal equipment configuration tailored to your production specifics and operating conditions.
![modul-shkrebkovogo-transportera[1]](https://t-weko.com/wp-content/uploads/sites/18/2026/02/modul-shkrebkovogo-transportera1-300x169.jpg)
![kovshovij-transporter-noriya[1]](https://t-weko.com/wp-content/uploads/sites/18/2026/02/kovshovij-transporter-noriya1-300x169.png)
![bunker-drobu[1]](https://t-weko.com/wp-content/uploads/sites/18/2026/02/bunker-drobu1-300x169.png)
![filtruvalna-ventilyaczijna-ustanovka-fvu[1]](https://t-weko.com/wp-content/uploads/sites/18/2026/02/filtruvalna-ventilyaczijna-ustanovka-fvu1-300x169.png)
![avts-10-kaso[1]](https://t-weko.com/wp-content/uploads/sites/18/2026/02/avts-10-kaso1-300x169.jpg)
![avts-11-kaso[1]](https://t-weko.com/wp-content/uploads/sites/18/2026/02/avts-11-kaso1-300x169.jpg)
![avts-13-kfs[1]](https://t-weko.com/wp-content/uploads/sites/18/2026/02/avts-13-kfs1-300x169.jpg)
![avts-12-kfs[1]](https://t-weko.com/wp-content/uploads/sites/18/2026/02/avts-12-kfs1-300x169.jpg)
![avts-01-20[1]](https://t-weko.com/wp-content/uploads/sites/18/2026/02/avts-01-201-300x169.jpg)
![avts-01-10[1]](https://t-weko.com/wp-content/uploads/sites/18/2026/02/avts-01-101-300x169.jpg)
![avts-01-1[1]](https://t-weko.com/wp-content/uploads/sites/18/2026/02/avts-01-11-300x169.jpg)
![avts-01-1-1[1]](https://t-weko.com/wp-content/uploads/sites/18/2026/02/avts-01-1-11-300x169.jpg)